Xiaomi продолжает инвестировать серьезные средства в научно-исследовательские разработки — за три квартал текущего года производитель затратил на это направление порядка 570 млн долларов, а персонал подразделений компании, связанных с НИОКР, сейчас составляет почти 50% от общего числа сотрудников.
На фоне этого Xiaomi получает всё больше патентов в самых разных областях. К примеру, новые разработки компании, относящиеся к смартфонам — это выдвижная фронтальная камера без применения электродвигателя, а также «бесконтактная» зарядка устройства, которая, в сравнении с традиционным методом беспроводной зарядки, не требует тесного контакта терминала с заряжаемым аппаратом.
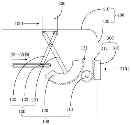
Что касается выдвижной фронталки, многим известной по смартфонам серии Redmi K20 и их глобальным «собратьям» в лице Xiaomi Mi 9T, то согласно опубликованной патентной документации, работать она будет за счет механического переключателя на торце аппарата, который будет двигать «шестеренки» механизма выдвижения.

По всей видимости, инженеры китайского производителя пришли к мнению, что подобная конструкция выдвижной фронтальной камеры более простая, надежная и компактная, так как нет необходимости использовать миниатюрный электропривод. Доберётся ли данный патент до физического воплощения, увы, неизвестно.
По поводу беспроводной зарядки «по воздуху» технической информации мало, а в самой патентной документации по поводу её функционала написано следующее:
Настоящее изобретение относится к способу и устройству зарядки, электронному устройству и носителю данных, при этом способ зарядки включает в себя: отправку запроса от беспроводной зарядки на базовую станцию, чтобы базовая станцию начинала беспроводную зарядку терминала (устройства).

В этом случае терминал не располагается в тесном контакте с заряжаемым устройством, а зарядка происходит по воздуху через специальную «базовую станцию», что значительно повышает удобство для пользователей.
Кстати, на сегодняшний день уже существует технология беспроводной зарядки устройств «по воздуху» под названием Mi Air Charge, которая поддерживает зарядку сразу нескольких аппаратов, выдает мощность 5 Вт для каждого устройства, а радиус её действия ограничен несколькими метрами.









